首页
新闻公告
部门简介
党建动态
政策法规
采购管理
资产管理
采购管理
理论实务
服务指南
下载中心
诚信公告
资产管理
理论实务
服务指南
下载中心
招标采购
招标公告
非招标公告
采购预公告
需求调查
首页
新闻公告
新闻公告
部门简介
党建动态
政策法规
采购管理
资产管理
采购管理
理论实务
服务指南
下载中心
诚信公告
资产管理
理论实务
服务指南
下载中心
招标采购
招标公告
非招标公告
采购预公告
需求调查
资产管理
理论实务
服务指南
下载中心
服务指南
当前位置:
首页
->
资产管理
->
服务指南
->
正文
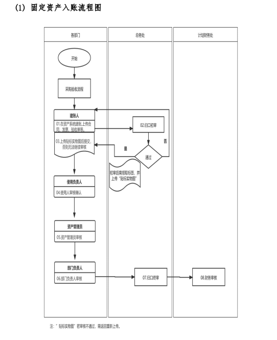
资产相关业务指引
信息来源:
发布日期:2025-11-27
资产相关业务指引详见附件
附件【
资产业务流程图.pdf
】已下载
次
附件【
新资产管理平台操作指南.pdf
】已下载
次
附件【
广东南华工商职业学院资产系统调拨功能指南.pdf
】已下载
次